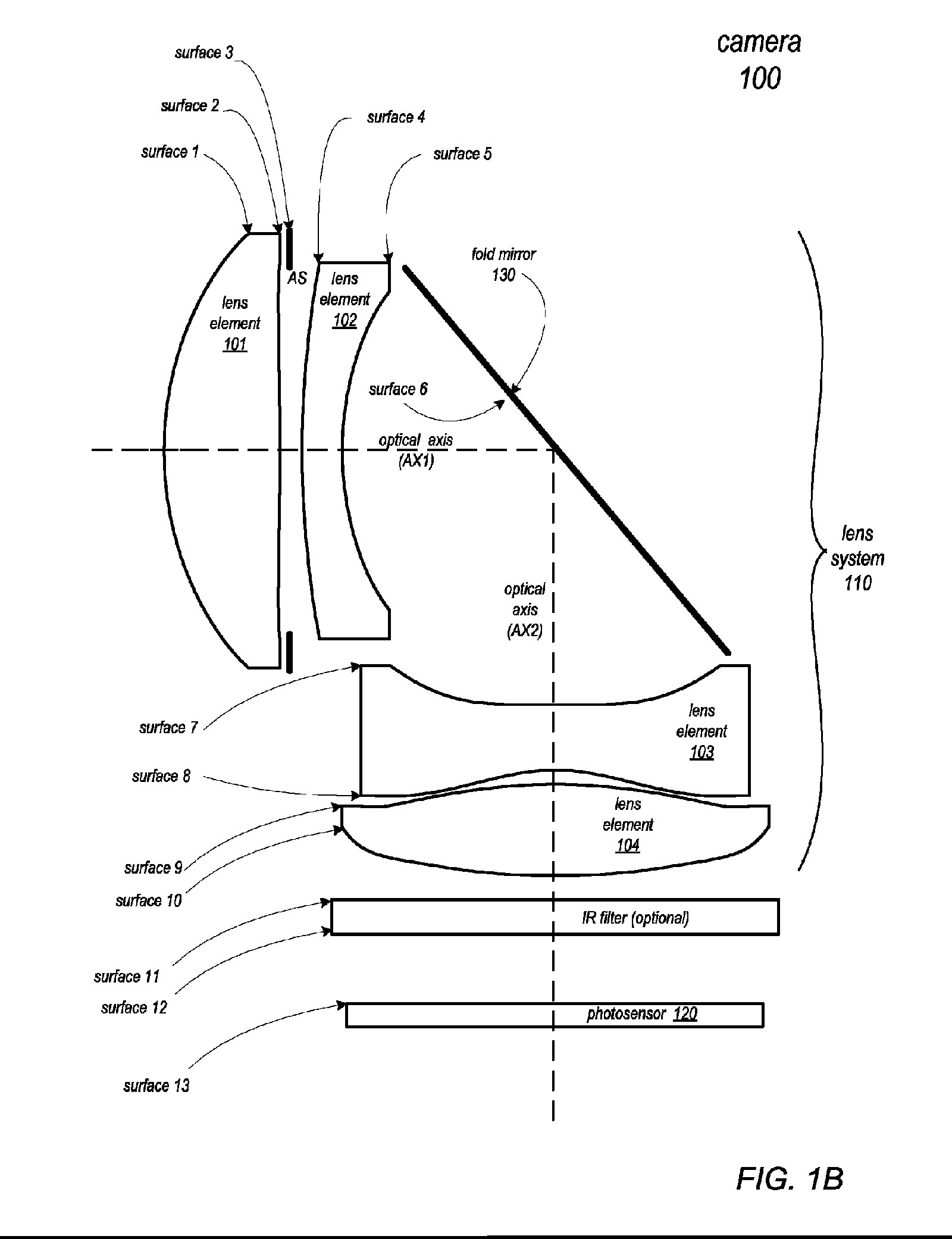
A periscope lens, sometimes called a folded lens, is a mechanical assembly of lens elements that uses a prism or mirror to redirect the light through the lenses with a 90° angle to the optical axis, as in a periscope.
Uses
The Kenworthy/Netman Snorkel Camera System, introduced in 1967 by Norman Paul Kenworthy and Bob Nettman, uses periscope lenses to allow filming very small scale models and objects from a very close distance.
Smartphones use periscope lenses to allow larger zoom ratios without increasing their thickness significantly. The increased optical zoom range is aimed to improve macro photography. With a periscope lens, the zoom lenses are turned by 90° and are aligned along the length or the width of the smartphone instead of its depth. The Sharp 902, released in 2004, is sometimes credited to be the first mobile phone to feature a (2x variable zoom) periscope lens camera. The Asus ZenFone Zoom smartphone, released in 2015, used an Hoya dual-periscope lens mechanism to achieve a 3x zoom. In 2019, the Huawei P30 Pro featured a 5x zoom periscope lens. In 2020, the Huawei P40 Pro introduced a 10x zoom periscope lens camera.
See also
- List of longest smartphone telephoto lenses
References
See also
- Folded optics
- List of longest smartphone telephoto lenses

:quality(90)/article-new/2020/03/applelenspatent.jpg)


